Rechercher dans ce blog

Monday, August 17, 2020

LG and Samsung are advancing their foldable display tech for improved durability - gizmochina

lg.indah.link

Foldable screen phones are gradually gaining grounds as we expect a number of new foldable phones to be released in the coming days. However, the durability of the display has often been a cause for concern.

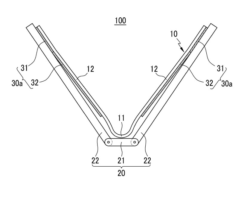
LG Foldable display patent
LG Foldable display patent

South Korea’s two major display panel manufacturers LG and Samsung are reportedly advancing their foldable display technology. This is in a bid to outwit the competition as durability is looking to become a key competitive factor.

According to the industry sources, LG Display recently applied for a patent for a ‘flexible display manufacturing method’. It is a technology that minimizes wrinkles that occur when a foldable display substrate is bent repeatedly. The purpose is to increase durability by reducing the stress applied while the substrate is deformed.

In general, various components including a film supporting a substrate make up a foldable display. When the substrate is bent, stress (bearing force) is generated as a force is applied to these components, causing the substrate itself to be deformed.

LG Display patented method involves applying a ‘control layer’ to reduce the stress on the substrate. The so-called stress absorbing layer acts as a cushion and reduces the occurrence of wrinkles.

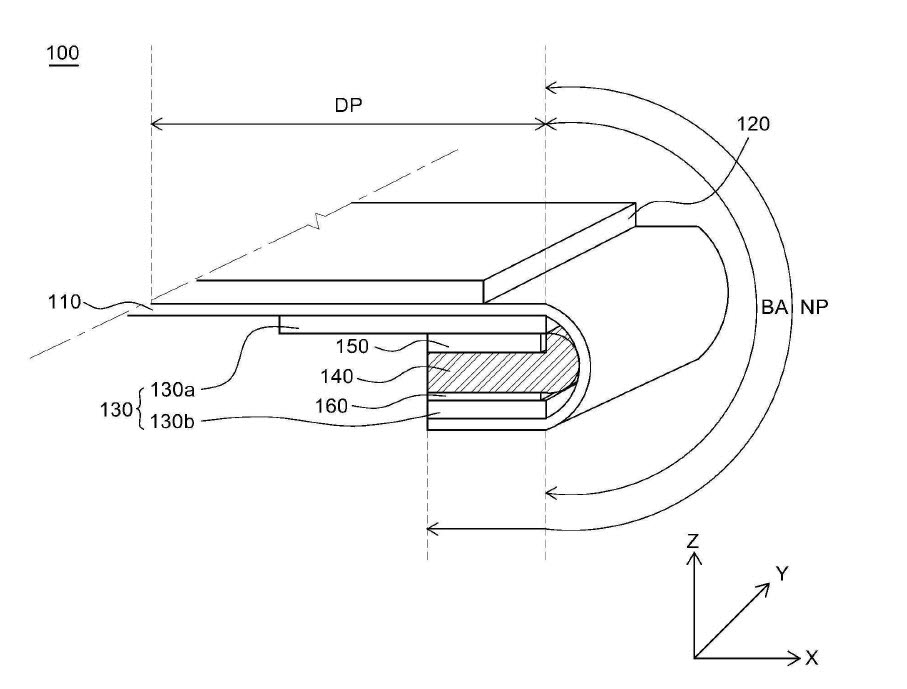
Samsung Foldable display patent
Samsung Foldable display patent

In the same light, Samsung Display has applied for a patent for a ‘foldable display design’ which utilises a new display manufacturing technology for foldable displays. Like LG Display, the purpose is to prevent panel damage by reducing the bending stress that occurs when the foldable substrate is deformed.

Samsung Display paid attention to the adhesive used for the hinge part. A member whose adhesive force changes according to the folding force of the foldable display is used. For example, when the panel is folded, it loses its adhesive strength and separates from the support, and when unfolded, it recovers its adhesive strength.

In the patent application document, Samsung Display is said to have explained, “ It utilises a pressure-sensitive adhesive (PSA ) that is bonded or separated by low pressure, thus increasing the durability of the panel by relieving the stress.”

An industry insider disclosed that the demand for foldable displays is expected to increase as 5G foldable phones are being released. This will, in turn, lead to competitors working on new technologies that will outwit the competition.

ALWAYS BE THE FIRST TO KNOW - FOLLOW US! The Link Lonk


August 17, 2020 at 11:56PM
https://ift.tt/314f5HC

LG and Samsung are advancing their foldable display tech for improved durability - gizmochina

https://ift.tt/3eaxdmA
LG

No comments:

Post a Comment

Featured Post

LG updates its 2021 OLED TVs to support 120Hz Dolby Vision gaming - Engadget

lg.indah.link Microsoft's Xbox Series X and Series S consoles both support 4K Dolby Vision at 120 Hz, but there's a problem: so f...

Popular Posts